Суббота, 07.02.2026, 12:20
Приветствую Вас Пассажир | RSS
Главная | Каталог оборудования | Регистрация | Вход
Меню сайта
Категории каталога
Моечно-очистительное [45]
Подготовка и окраска [0]
Электротехническое [0]
Разборочно-сборочное [16]
Ремонтное [0]
Подъемно-транспортное [1]
Испытательное [0]
Пользователи [4]
Форма входа
Поиск
Друзья сайта



Праздники России
Проектирование
СТОа и АТП
Главная » Файлы » Разборочно-сборочное

Стенд для разборки и сборки распределительного вала, модель 70-7826-1501
[ ] 27.09.2008, 00:31
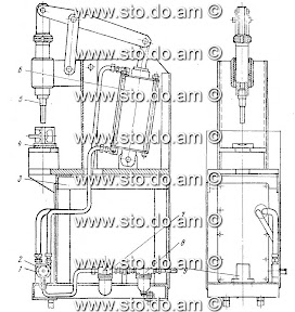
Стенд предназначен для сборки и разборки распределительного вала с шестерней, а также для выпрессовки кольца из поршня и втулки из верхней головки шатуна автомобиля ЗИЛ-130
На раме 3 стенда (рис.) шарнирно крепится пневмоцилиндр 6, кран управления 2 с педалью 1, маслораспределитель 7, влагоотделитель 8 и упор 9. Для выпрессовки кольца из поршня его кладут на подставку 4 и выпрессовывают палец оправкой 5. Для снятия шестерни с распределительного вала ее устанавливают на подставку так, что распределительный вал своим концом опирается на упор 9.

Тип----------------------------------------------------------стационарный
Привод ----------------------------------------------------пневматический
Давление воздуха в пневмосети. кгс/см----------26,3
Расход воздуха, м3/ч-----------------------------------0,5
Управление ----------------------------------------------педальное
Габаритные размеры, мм-----------------------------805X510X1670
Масса, кг--------------------------------------------------360

Категория: Разборочно-сборочное | Добавил: dimedrol | Автор: разработан ЦОКТБ ГОСНИТИ
Просмотров: 1854 | Загрузок: 0 | Рейтинг: 4.0/1
Всего комментариев: 0
Добавлять комментарии могут только зарегистрированные пользователи.
[ Регистрация | Вход ]
Copyright MyCorp © 2026